
La boîte manuelle disparaît peu à peu, et ce n’est pas un hasard, car entre les contraintes d’homologation, les gains en consommation et surtout l’efficacité des transmissions modernes, elle devient difficile à justifier. Pourtant, Porsche explore une piste assez inattendue : recréer une expérience de boîte mécanique… sans mécanique derrière.
Le principe peut sembler absurde au premier abord, mais il est en réalité assez révélateur de l’évolution actuelle de l’automobile, où l’on ne supprime plus les sensations mais où on les reconstruit.
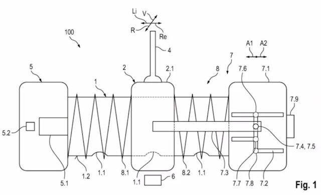
Le système repose sur du shift-by-wire, ce qui signifie que le levier de vitesse n’est plus relié physiquement à la boîte et devient une simple interface. Quand tu le manipules, tu n’agis plus sur des fourchettes ou des pignons, tu envoies une information à un calculateur qui se charge de tout interpréter.
Dans le détail, le levier ne fait qu’envoyer une position dans l’espace au calculateur, des capteurs mesurant à la fois son déplacement longitudinal, son mouvement latéral et parfois même son angle. Le système ne reçoit donc pas une “vitesse” au sens mécanique, mais une position interprétée que le logiciel traduit ensuite en rapport à engager.
Tout le travail est ensuite réalisé en arrière-plan, la transmission exécutant l’ordre selon sa propre logique, tout en laissant croire au conducteur qu’il garde la main. Pour éviter que l’ensemble paraisse trop artificiel, Porsche prévoit de recréer une résistance dans le levier, avec des crans, une certaine dureté et même des sensations proches d’une grille en H, si bien que le geste reste crédible même si le lien mécanique a totalement disparu.


C’est le point le plus important à comprendre, car il ne s’agit pas d’une nouvelle boîte capable de fonctionner en mode manuel ou automatique de manière mécanique, mais bien d’une boîte automatique classique sur laquelle on vient superposer une interface qui imite une boîte manuelle.
Dans la pratique, on parle très probablement d’une double embrayage type PDK, une transmission déjà entièrement pilotée électroniquement et qui n’a plus besoin de liaison directe avec un levier. Le système breveté par Porsche ne fait donc que modifier la manière dont le conducteur interagit avec elle, sans toucher à son fonctionnement réel.
Quand tu “passes une vitesse”, tu ne fais qu’envoyer un ordre, et c’est ensuite le calculateur qui décide comment et quand engager le rapport, en gérant les embrayages de manière optimale. La sensation de contrôle est conservée, mais la réalité reste entièrement pilotée.
Le levier ne se contente d’ailleurs pas de changer de logique, il change aussi physiquement de comportement, puisqu’un système de verrouillage permet de limiter ses mouvements à un simple axe avant arrière, comme sur une boîte automatique classique. Une fois déverrouillé, il retrouve une liberté latérale et peut parcourir une grille en H complète, ce qui montre bien que l’illusion ne repose pas uniquement sur le logiciel mais aussi sur le geste lui-même.
Porsche pousse le concept encore plus loin avec l’ajout possible d’une pédale d’embrayage, mais là encore, il ne faut pas se laisser tromper puisqu’il n’y a pas de liaison directe avec un mécanisme réel.
La pédale sert en réalité à moduler une commande électronique, avec un point de patinage et une résistance simulés, même si elle peut malgré tout avoir un rôle indirect en pilotant les embrayages multidisques de la PDK via un potentiomètre. En théorie, il serait donc possible de “jouer” avec l’embrayage comme sur une vraie manuelle, ce qui serait en revanche bien plus limité avec une boîte à convertisseur, comme sur les anciennes Tiptronic.
La démarche peut sembler contradictoire, mais elle reste assez logique quand on regarde l’évolution du marché, car les boîtes automatiques ont gagné sur tous les plans, que ce soit en rapidité, en consommation, en confort ou en performance. En revanche, elles ont aussi supprimé une partie de l’implication du conducteur.
Or cette implication reste recherchée, surtout sur des modèles à vocation sportive, ce qui pousse Porsche à tenter de concilier les deux mondes, avec d’un côté une transmission moderne et optimisée, et de l’autre une interface qui redonne l’impression de piloter la voiture.
Ce n’est d’ailleurs pas la première fois que l’industrie suit cette voie, puisque le son moteur est parfois entièrement recréé, la direction peut être filtrée puis retravaillée pour donner du ressenti, et certaines vibrations sont même générées artificiellement. Ici, on applique simplement la même logique à la transmission.
Il y a aussi une raison plus terre à terre à cette disparition progressive, puisque les versions à boîte manuelle deviennent de plus en plus coûteuses à homologuer, notamment à cause des normes CO?, chaque variante imposant des calibrations spécifiques qui n’ont plus beaucoup de sens quand la majorité des clients choisit déjà une boîte automatique. Le manuel devient donc difficile à rentabiliser, même sur des modèles sportifs.
Ce système marque une rupture assez nette, car pendant longtemps la boîte manuelle représentait l’un des derniers liens directs entre le conducteur et la mécanique, chaque geste ayant une conséquence immédiate et physique.
Avec ce type de solution, ce lien disparaît et est remplacé par une interprétation logicielle, le conducteur agissant toujours mais désormais à travers un intermédiaire.
La question n’est donc pas vraiment technique, elle devient presque philosophique, car reproduire une sensation ne signifie pas forcément la remplacer. Certains y verront une solution intelligente pour conserver du plaisir de conduite, tandis que d’autres y verront une imitation un peu creuse.
Ce qui est assez troublant, c’est que tout est fait pour reproduire un geste authentique alors même que la mécanique correspondante a disparu, ce qui revient à recomposer artificiellement une expérience que l’on a volontairement supprimée. Plus le système sera abouti, plus il deviendra difficile de distinguer une vraie interaction mécanique d’une simple simulation.
Mais s'agissant d'une marque de sport, on peut comprendre que l'idée soit pertinente et très cohérente, sur une Clio ça ne l'aurait pas été bien évidemment ...
Le brevet a été déposé le 30 août 2024 auprès de l’office allemand, avant d’être rendu public début mars 2026, ce qui montre que Porsche travaille sur ce type de solution depuis déjà un certain temps et que le concept est plus avancé qu’il n’y paraît.
Il faut toutefois garder en tête que tout cela reste au stade de brevet, Porsche explorant de nombreuses pistes dont certaines ne verront jamais le jour.
Mais même sans certitude de commercialisation, l’idée reste intéressante car elle montre clairement la direction prise, avec une voiture de plus en plus pilotée par logiciel, y compris dans ses éléments les plus mécaniques.
La boîte manuelle ne disparaît peut-être pas totalement, elle devient simplement… virtuelle.
Derniers articles sur Porsche :
Ecrire un commentaire
Etes-vous satisfait de votre concessionnaire ?
© CopyRights Fiches-auto.fr 2026. Tous droits de reproductions réservés.
Nous contacter - Mentions légales
Fiches-auto.fr participe et est conforme à l'ensemble des Spécifications et Politiques du Transparency & Consent Framework de l'IAB Europe. Il utilise la Consent Management Platform n°92.
Vous pouvez modifier vos choix à tout moment en cliquant ici.