

L’idée d’un échappement sur une voiture électrique peut sembler étrange, mais Stellantis vient de déposer un brevet qui pourrait bien renforcer la sécurité des batteries lithium-ion. Ce système a pour but d’évacuer les gaz inflammables générés lors d’un emballement thermique, un phénomène qui peut mener à un incendie.
Lorsqu’une batterie chauffe excessivement elle peut entrer en emballement thermique. Ce processus chimique incontrôlé provoque une montée rapide en température et la décomposition des électrolytes présents dans les cellules. Cette réaction libère des gaz hautement inflammables, tels que l’hydrogène et le méthane, qui peuvent s’accumuler et augmenter dangereusement la pression à l’intérieur du pack batterie.
A lire : comment une batterie peut prendre feu ?
Ces gaz sont directement liés à la composition de l’électrolyte des batteries lithium-ion. L’électrolyte est généralement constitué de sels de lithium dissous dans un solvant organique, comme le carbonate d'éthylène ou de diméthyle. Lorsqu’une surchauffe survient, ces solvants se décomposent et libèrent divers gaz inflammables, notamment de l’hydrogène (H?), du méthane (CH?), du monoxyde de carbone (CO) et de l’éthane (C?H?). En plus du risque d’inflammation, cette accumulation de gaz peut provoquer une rupture mécanique des cellules, entraînant un court-circuit interne et amplifiant encore l’emballement thermique qui va mener à la libération de l'énergie contenue dans la batterie sous forme de flammes. Ce phénomène est particulièrement critique dans les batteries lithium-ion traditionnelles à électrolyte liquide. Les recherches actuelles sur les batteries solides (=à électrolyte solide) visent justement à réduire ce risque en éliminant les solvants organiques inflammables.
Dans certains cas, ces gaz peuvent entraîner une rupture mécanique de la cellule par déchirement, créant ainsi un court-circuit interne. Si les gaz ne sont pas évacués à temps, la pression peut atteindre un seuil critique, déclenchant une explosion ou un incendie difficile à maîtriser. Ce phénomène est particulièrement préoccupant pour les batteries de grande capacité, qui stockent une énergie considérable.
Pour répondre à ce problème, Stellantis propose un système de conduits dédiés à l’évacuation des gaz dangereux. Contrairement à un pot d’échappement classique conçu pour rejeter les gaz de combustion des moteurs thermiques, ce dispositif est spécifiquement conçu pour libérer les émanations nocives des cellules défectueuses avant qu’elles ne provoque une surpression dévastatrice (en aucun cas il faut que les cellules ne se percent).
.jpg)
Le brevet décrit un réseau de conduits intégrés au pack batterie, capables de détecter une surchauffe et de libérer les gaz vers l’extérieur du véhicule de manière contrôlée. En réduisant la pression interne et en évitant l’accumulation de gaz inflammables, ce système pourrait considérablement limiter les risques d’incendie.
A lire : la gestion thermique d'une batterie de voiture électrique
Stellantis ne se contente pas de canaliser les gaz hors du véhicule. Le brevet évoque également un dispositif de traitement avant évacuation, comparable à un catalyseur, afin de neutraliser les composants les plus nocifs. Cette approche permettrait de réduire l’impact environnemental des dégagements gazeux et d’éviter des émissions potentiellement dangereuses en dehors du véhicule.

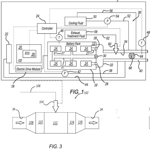
Ce schéma représente le système breveté par Stellantis pour l'évacuation et le traitement des gaz inflammables générés par une batterie en cas de surchauffe.

Voici les éléments clés du schéma :
L’emballement thermique des batteries lithium-ion reste un défi majeur pour les constructeurs. Bien que les incendies de véhicules électriques soient rares, leur intensité et la difficulté à les éteindre justifient le développement de nouvelles solutions de sécurité.
Avec ce brevet, Stellantis adopte une approche proactive qui pourrait inspirer d’autres fabricants. Si cette technologie venait à être intégrée aux futurs modèles, elle pourrait bien devenir un standard de l’industrie automobile pour renforcer la sûreté des véhicules électriques et rassurer les utilisateurs quant aux risques liés aux batteries. Et pour une fois, les Français semblent vouloir être à la pointe en ce qui concerne la voiture électrique, ce qui est appréciable.
Ecrire un commentaire
Que pensez-vous des publicités sur l'automobile ?
Sujets pris au hasard
© CopyRights Fiches-auto.fr 2025. Tous droits de reproductions réservés.
Nous contacter - Mentions légales
Fiches-auto.fr participe et est conforme à l'ensemble des Spécifications et Politiques du Transparency & Consent Framework de l'IAB Europe. Il utilise la Consent Management Platform n°92.
Vous pouvez modifier vos choix à tout moment en cliquant ici.